Page 1 sur 2
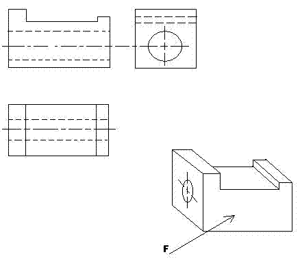
La lecture de dessin est une technique qui consiste à compléter les différentes vues demandées en se servant des règles de correspondance, elle peut aussi consister à rechercher la représentation correcte d'une pièce parmi plusieurs solutions proposées. Il peut être demandé à la fin, parmi plusieurs solutions proposées. Il peut être demandé à la fin de ce travail de reconstituer la perspective cavalière de la pièce d'origine.
Utilités de la lecture de dessin
Elle permet de développer nos facultés intellectuelles d'observation des déductions logiques d'interprétation et de compréhension.
Exemples
Complétons par lecture de dessin les vues ci-dessous et reproduisons la pièce d'origine.
Exemple 1:

Exemple 2: