Comment peut-on éclairer le chemin quand on veut sortir dans la nuit?
Solution proposée
Plusieurs solutions peuvent être envisagées: Bougie, lampe à gaz, la lampe à poche, braise.
Fonction
La lampe de poche facilement transportable permet d'éclairer une zone bien déterminée.
Etude technologique
La lampe de poche comprend 3 grandes parties qui sont:
- La lampe à incandescence ou lampe électrique
- La pille
- Le boîtier
La lampe incandescence ou lampe électrique

- Vue extérieure: La lampe incandescence comprend:
- Une ampoule en verre
- Un culot en laiton sur lequel on a pratiqué un filetage
- Un plot en plomb
- Vue de l'intérieur: La lampe à incandescence comprend: un filament en tungstène enroulé en hélice. Les deux extrémités du filament sont relier l'une au plot et l'autre au culot par deux fils conducteurs appelés électrodes. Ces deux fils conducteurs sont isolés entre eux par une boule isolante.
La pille plate
Elle est constituée de 3 petits éléments reliés entre eux. L'ouverture de la pile plate permet de voir comment elles sont à l'intérieur. Les éléments sont enfermés dans une boîte en carton. De celle-ci sortent les lamelles en laiton appelés borne de la pile ou pôle de pile.

Le boîtier
Il assure le transport de l'ensemble quelque soit le model, on distingue toujours le même élément qui sont:
- Douille: Elle reçoit le culot de la lampe incandescence qui s'y engage en mouvement hélicoïdal
- Deux ensembles de lamelle conductrices: Deux lamelles conductrices en laiton reliées l'une de la borne de la pile au culot et l'autre au plot. Ces deux lamelles sont isolées entre elles par une matière isolante en plastique.
- L'interrupteur: Permet d'allumer et d'éteindre la lampe. L'interrupteur occupe 2 positions: la position d'arrêt et la position de marche.
- Un système réflecteur: Permet d'orienter les rayons du milieu dans une même direction.
- Ube plaque de verre: qui protège la lampe à incandescence.
Notion de circuit électrique

Sans utiliser le boîtier, on peut allumer la lampe à incandescence. Il faut pour cela établir une liaison électrique, entre le plot et la borne positive de la pile et un conducteur qui va du culot de la lampe à la borne négative de la pile.
Un circuit est dit ouvert lorsque la lampe ne brille pas. Et un circuit est dit fermé lorsque la lampe brille.
Schématisation des éléments d'un circuit électrique:
|
Quelques symboles utilisés en électricité |
|
|
|
|
|
|
|

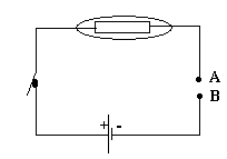
Notion d'isolant et conducteur

Plaçons entre A et B une gomme, un morceau de bois, un morceau de plastique on constate que la lampe ne brille pas. Le morceau de bois, le morceau de plastique la gomme sont des isolants.
Un isolant est un corps qui ne laisse pas passer le courant
Plaçons entre A et B une plaque en or, de cuivre, de l'argent, cette fois-ci on constate que la lampe brille. La plaque d'or, le cuivre, l'argent sont appelé des conducteurs.
Un conducteur est un corps qui laisse passer le courant.
La lampe torche
Notion de retour par la masse:

D'après ce schéma, on constate que le boîtier (masse métallique) participe au circuit électrique de la lampe torche. Il joue le rôle de masse, on dit qu'il y'a retour par la masse.
Schéma du circuit électrique de la lampe torche:

On contacte que les 2 piles de la lampe torche sont montées en série c'est-à-dire que les 2 bornes de nature différente sont en contact et que la lampe brille quand le circuit est fermé. Si on inverse l'une des piles de façon que les 2 bornes de même signe se touche, la lampe ne brille pas même si on ferme le circuit. Un tel circuit est dit en montage en opposition.

Notion de court circuit
Expérience

Réalisons le circuit à l'aide d'une pile plate en plaçant entre les lamelles en laiton de la pile une lampe à incandescence, nous constatons que la lampe brille. Relions les bornes des lamelles en laiton de la pile plat par un conducteur métallique AB.
Observation des faits
La lampe brille faiblement et elle s'éteint.
Le fil conducteur AB se chauffe et parfois devient incandescent (rouge)
Interprétation des faits
Entre A et B il y'a 2 chemins qui s'offrent au courant. Le premier chemin passe par le filament de la lampe. Le deuxième chemin passe par le fil métallique AB. Le chemin offert au fil métallique est plus facile que le chemin offert par le filament, ce qui a pour fait:
- De dévier presque la totalité du courant électrique hors du filament et provoque ainsi l'extinction de la lampe à incandescence.
- De laisser passer dans le circuit provoque l'élévation de température, et si l'expérience se prolonge, la pile va s'épuiser.
Conséquence
Cette expérience nous montre la nécessité d'isoler les conducteurs d'un même circuit, c'est d'éviter tout contact entre 2 fils d'un même circuit.
Rôle de chaque élément du circuit
La pile
La pile provoque le passage du courant. Elle est un générateur de courant. C'est elle qui constitue la source du courant (énergie).
Lampe à incandescence
Où le passage du courant se manifeste par un dégagement de chaleur et une émission de lumière. Elle est réceptrice calorifique, exemple: la radio, la télévision.
Les lamelles métalliques
Elles complètent les circuits en permettant le passage du courant électrique. Elles constituent des conducteurs.
Liaison électrique
Elle assure le passage du courant électrique d'un élément du circuit à un autre par un simple contact. Etablir ce contact veut dire connecter. Les points du circuit où se font les connexions sont appelés les bornes ou les pôles.
Un circuit électrique est une chaîne continue d'éléments conducteurs reliant les bornes d'un générateur.



