Fonction

La lampe de bureau ou de chevet permet d'obtenir un éclairage complémentaire à des endroits précis ou convenables dans une pièce ou dans un bureau.
Elle est alimentée par un courant issu d'une prise de courant de secteur.
Etude technologique
Quelque soit le type de lampe, on distingue les éléments suivant: lampe à incandescence, une douille, un abat-jour, le pied de la lampe, un fil souple, une fiche bipolaire mâle, un interrupteur unipolaire.
Lampe à incandescence

C'est l'organe principal qui fourni de la lumière lorsque son filament est porté à incandescence (rougie) par le passage du courant électrique. On y distingue:
- Une ampoule de verre contenant un mélange de deux gaz (argon + azote) appelé gaz rares ou gaz inerte.
- Un filament en tungstène enroulé en hélice.
- Un culot qui porte deux ergots permettant de fixer et de maintenir la lampe dans la douille.
- Deux plots en plomb reliés aux extrémités du filament par deux tiges conductrices.
NB:
- Les deux plots sont isolés du culot par une matière isolante.
- La lampe à incandescence peut durer 1000 heures environ.
- L'ampoule de verre ne contient pas d'oxygène.
La douille
Elle a une double fonction à savoir la fonction mécanique et fonction électrique.
Fonction mécanique
Elle relie la lampe au support en faisant verrouiller les deux ergots dans les deux empoches.
Fonction électrique
Elle sert à connecter au reste du circuit. On distingue
- Le corps de la douille avec deux empoche dans lesquels s'engagent les deux ergots.
- Une culasse.
- Une pastille en matière isolante, de laquelle émergent deux pistons conducteurs avec de ressorts à leur base.
Le fil souple
Il est formé de deux fils conducteurs isolés chacun dans une gaine en matière plastique.
Un fil souple est constitué de petits fils conducteurs très fins en cuivre rouge ou jaune.
Un interrupteur unipolaire
Il a un seul pôle et permet d'allumer ou d'éteindre la lampe en fermant ou en ouvrant le circuit.
La fiche bipolaire mâle
Placé au bout du fil souple permet de connecter la lampe au reste du circuit par l'intermédiaire de la prise de courant de secteur.
Cette dernière placée au mur reçoit la fiche bipolaire mâle pour alimenter la lampe en courant électrique.
L'abat-jour
Il permet de repartir et d'orienter la lumière en atténuant la lumière de la lampe.
Le pied de la lampe
Il sert de support.
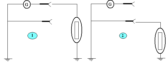
Schéma normalisé du circuit électrique de la lampe de bureau

Fil de phase (PH), fil neutre (N)
Observations
La lampe du testeur ou tournevis témoin s'allume lorsqu'on introduit la tige métallique dans l'un des trous de la prise du courant de secteur, elle ne s'allume pas lorsqu'on introduit dans l'autre trou.
Explications

Le schéma (2) montre que l'une des bornes de la génératrice est reliée à la terre: le fil qui en est issu est le neutre.
Le schéma (1) quant à lui montre que l'une des bornes n'est pas reliée à la terre, le fil correspondant est le fil de phase.
Au contact du fil de phase le circuit de la lampe se ferme à travers le corps de l'utilisateur et à travers la terre pour atteindre l'autre borne de la génératrice.
Au contact du fil neutre, la lampe ne brille pas parce qu'il n'y a pas de générateur dans son circuit et par conséquent le fil neutre est au même potentiel que la terre.
Les deux fils du courant de secteur tout en jouant le même rôle ne sont pas identiques.
L'expérience du tournevis témoin dont la lampe s'allume en contact de la tige métallique avec le fil de phase et ne s'allume pas au contact du fil neutre, nous permet de mettre en évidence les deux bornes d'une prise de courant de secteur.
